一个员工为0人,且为失信被执行人的小贷公司,居然在微信上注册数十个公众号获客,而且还和微信支付分“关联”上了?
1、面对当前车抵贷的火热,《读懂数字财经》秀了下去年7月的预判文,万万没想到,留言区被人当成了获客通道。

来源:读懂数字财经评论区,部分评论已被屏蔽和删除
连续两个微信用户在评论区发布了同一张图片,图片中有几个关键词:“【完全开】服务号”、“回收兑换”、“支付积分”、“一分=20”、“收款金额”等,支付积分是什么分呢?
下图左为评论区留言图片,右为微信支付分图片,在数字的构图(386与820及周边图案)长得是真像啊。他们所推广的“完全开”是个什么样的产品?互金从业者及监管人士仔细看下“下图左”的相关内容,应该就有了然了。

微信支付分是和这家名为“完全开”的达成了什么合作?还是在自己的阵地被偷家了?别急,继续往下看。
2、
通过查询可知,微信上确实有名为“完全开”的服务号,其认证主体为“阿拉山口达成小额贷款有限公司”(下称“达成小贷”)。

图片来源:达成小贷公众号
《读懂数字财经》在微信检索“阿拉山口达成小额贷款有限公司”后发现,以该公司为主体注册的公众号多达几十个,名称五花八门:开口多、申付、计付、都付、金开快......因数量过多难以完全展示,且展示后意义也不大,不过《读懂数字财经》已经录屏存证。
这些账号有一些特性:注册地或IP属地各不相同,但都在账号的菜单栏建立了三个借款入口,其中一个入口指向了名为“乐小钱”的产品,《读懂数字财经》从另外一个入口退出后,弹出了一个页面,该页面有明确的“微信备付金专属额度”字样,且还有内容暗示:微信与“趣记花”合作。

图片来源:达成小贷公众号菜单栏弹出的链接
达成小贷与趣记花是何方神圣?
一个一个说,天眼查信息(2月13日查询)显示,达成小贷为失信被执行人,注册资本仅2000万元,法定代表人为刘春华,且员工人数为0人。

图片来源:天眼查
根据《小额贷款公司监督管理暂行办法》(下称“《办法》”)第四十二条 对“失联”或“空壳”小额贷款公司,省级地方金融管理机构应当向社会公示,公示期满无异议的,引导相关公司到市场监管部门办理名称、经营范围变更登记或注销登记。
同时《办法》第四十三条、四十四条对失联、空壳小贷公司给出了认定标准。
图片来源:《办法》文件截图
不知道达成小贷这种情况算不算空壳公司?
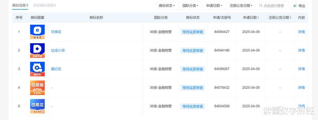
虽然,以达成小贷为主体注册的公众号多达几十个,但是该公司在天眼查只有5个商标信息,分别为:尽享花、达成小贷、趣记花以及借易推和借易花。

图片来源:天眼查
而相比于其他几十个不知名的公众号,趣记花有些名气,行业自媒体《开甲财经》曾撰文《趣记花被指泄露个人信息,疑似“挂靠”新疆失信的持牌小贷》深扒该公司。
3、
总的来说,以达成小贷的背景和资质,能与微信合作放贷的概率很低,如果二者没有合作,该公司的种种宣传手法该如何定义?
此外,行业自媒体《互金杂家》文章曾指出了一个小贷注册几十个小程序的情况:

图片来源:互金杂家公众号文章
小程序和APP要治理,那这种注册几十个公众号的,是不是也要治理呢?
最后抛出一个疑问,达成小贷和趣记花是什么关系?行业老司机应该有自己的答案,但没有证据的事情,我们不能写出来。
声明:本文基于天眼查、微信公众平台检索信息及公开报道整理分析,仅为行业研究参考,不构成任何投资或决策建议。文中涉及企业信息均为公开可查内容,若相关主体认为内容存在偏差,可凭有效证明材料联系我方处理。