游戏百科

跨界梦碎!营收连降三个季度,青岛啤酒终止收购即墨黄酒

11月14日,青岛啤酒召开第三季度业绩说明会,党委书记兼董事长姜宗祥、财务总监侯秋燕等高管在线答疑。

吴典/摄

今年前三季度,青岛啤酒实现营收293.7亿元,同比增长1.4%,对应归母净利润同比增长5.7%至52.7亿元。相比上年同期,这份“成绩单”的业绩增速明显提升,但细看可以发现,青岛啤酒仍未走出乏力困境。

按季度拆分来看,今年一季度,青岛啤酒实现营收104.46亿元,同比增长2.91%,第二季度增速放缓至1.28%,对应100.46亿元。第三季度,其实现营收88.76亿元,同比增速继续降至-0.17%,环比则下跌11.65%。

净利润方面,一季度,青岛啤酒归母净利润同比提升7.08%至17.1亿元,第二季度则同比增长7.32%至21.94亿元。第三季度,其归母净利润规模降至13.7亿元,同比增速为1.62%,环比下降37.55%。

多家机构指出,今年以来餐饮消费疲软,叠加“禁酒令”等因素影响,酒类整体承压,业绩增速放缓。

东海证券研报数据显示,今年前9个月,青岛啤酒累计实现产品销量689.4万千升,同比增长1.6%,其中第三季度单季销量为216.2万千升,同比增速为0.32%。吨价方面,公司前三季度均价为4259.79元/千升,同比下滑0.19%,其中第三季度均价同比下滑0.49%至4105.46元/千升,“预计为货折促销增加所致”。

行业需求萎靡带来的困境是业绩说明会上被关注的重点。姜宗祥称,今年以来,啤酒消费市场景气度复苏仍较缓慢,公司会坚守战略定力,充分发挥青岛啤酒的品牌、品质和渠道网络优势,进一步优化产品结构,强化运营管理,不断加大新产品的研发推出等多种举措,实现经营水平的持续提升。

孙婉秋/摄

今年以来,青岛啤酒研发上市轻干、樱花味白啤、浑浊IPA等多款新品;渠道端则积极拓展新渠道,即时零售业务强化闪电仓、开发酒专营等新业态。姜宗祥指出,2025年前三季度,公司即时零售业务强化闪电仓、酒专营等新业态布局开发,保持了连续快速增长。

除了卖啤酒之外,青岛啤酒也在积极布局多元业务,但截至目前未见明显进展。

比如今年3月,市场有消息称,青岛饮料集团100%股权将无偿划转至青岛啤酒集团。对于相关进展,姜宗祥表示,集团的饮料业务与公司啤酒主业在品牌、产品及销售网络等方面不同,饮料集团并入青啤集团后,正在集团层面进行全面整合。

据悉,青岛饮料集团下辖36家成员企业,业务主要涵盖水饮料、葡萄酒制造与销售和与之相匹配的国际贸易、文化旅游、水资源建设与运营等板块。

另外,青岛啤酒关于即墨黄酒100%股权的收购也于近期告吹,外界曾将该事件视作青岛啤酒跨界发展迈出的重要一步。

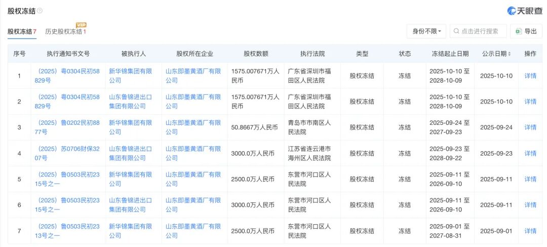
从今年5月宣布收购事项到公告终止,交易历时5个多月,原因是“《股权转让协议》约定的交割先决条件未能满足”。天眼查数据显示,自今年9月以来,即墨黄酒接连新增7项股权冻结事项,当前累计被冻结股权数额超1亿元。

业绩说明会上,对于投资者问及的“后续会不会考虑推进其他非啤酒业务的收购”,姜宗祥回应称,青岛啤酒多元化发展战略不会变,未来如有新的项目机会,公司仍会继续考虑实施。