游戏百科

未到期就被断网,百万用户被方正宽带“坑”了?

办理了五年的宽带,还未到期,网就被停了,企业却以破产重整为由,暂时无法提供退费服务,多位用户因此向媒体投诉了方正宽带。

1.百万方正宽带用户被“坑”了?

据媒体报道,北京多位方正宽带用户投诉,他们续了5年的方正宽带,服务还没到期,就接到了宽带公司破产的消息。与方正宽带交涉后,对方给出了两个解决办法,一是转网到联通,二是等待退费。投诉的用户表示,就转网的费用问题,对方并未给出一个肯定的、清晰的答复。若是退费,由于公司在破产重整,可能会遥遥无期。有方正宽带的工作人员透露,因为公司已经负债,目前没有退费部门。

随后,有媒体联系了联通的工作人员,交谈中发现,对方确实没有一个具体的转网方案,且工作人员表示,之前的合同需要用户和原运营商沟通,公司暂时只有一个针对合作商的合作产品。

对于此事,有网友认为,能转网就很不错了,拿回钱是很难的。但有已转网的方正宽带用户表示,被迫转网成沃方宽之后,联通不承认沃方宽是他们的,没处说理。

事实上,方正宽带断网事件并非是最近才发生的。“趣解商业”搜索发现,去年就有媒体报道称,北京多个小区方正宽带用户家中网络被断掉,客服表示,转网需先缴纳880元一年的联通宽带费。之后,网上就一直有相关的维权帖子。黑猫投诉平台上,也有多条方正宽带突然断网的投诉。

2.方正宽带怎么了?

大批用户被断网,还无法退费,不免让人发出疑问,方正宽带怎么了?公开资料显示,方正宽带原是北大方正集团旗下的一家子公司,主要从事互联网和相关服务为主。但2022年,北大方正集团将名下的方正宽带的100%的股权,通过拍卖的方式转让给了北京白云艾赛斯企业管理有限公司。去年,方正集团还专门发布了《关于方正宽带等已不属于方正集团成员企业的声明》,表明其与方正宽带已无任何股权关系。

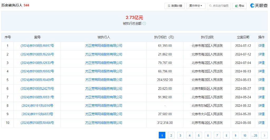
天眼查显示,如今,方正宽带由北京白云艾赛斯企业管理有限公司100%持股,而该公司的控股股东,也是唯一的股东为北京双纳特资企业管理有限公司。后者由许娜和李昂澍共同持股,持股比例各为50%。从天眼查的信息来看,目前方正宽带的经营状况不是很乐观。与方正宽带相关的司法案件超过300件,2021年以来,其三次被行政处罚,处罚总金额为4.2万元。同时,方正宽带还曾多次被列为被执行人,执行总金额达到2.73亿元。此外,其法定代表人陆允辉也曾被限制消费。

今年10月,全国企业破产重整案件信息网显示,方正宽带发布了重整计划(草案)公告。公告中表明,北京白云艾赛斯企业管理有限公司申请对方正宽带进行破产重整,目前,管理人已基本完成对重整主体的债权申报审查、资产审计评估、引入重整投资人等重整所需的基本工作。重整结果如何,还需要继续观察。

3.最大校企北大方正集团做错了什么?

曾作为国内最大校企——北大方正集团旗下的子公司,方正宽带走到被拍卖、破产重整这一步,与北大方正集团的兴衰有不小的关系。公开资料显示,北大方正集团是北京大学1986年投资创办的大型集团,不仅改变了国内传统出版印刷行业,还很快进军科技行业,并在1995年借壳上市。2017年,其营业收入就已超过1000亿元。然而,2019年开始,北大方正集团先是被曝出债务违约,随后破产重整。这时,外界才发现,这个庞然大物其实早已出现隐忧。

有观点认为,集团内部斗争和管理层执着于多元化发展或许是北大方正集团走到如今这个地步的重要原因。2000年左右,北大方正集团就开始了“买买买”,证券、钢铁、医药等均有涉及。由于在新领域的经验不足,北大方正集团的多元化布局不仅未能给企业带来丰厚的利润,反而加重了企业负担。与此同时,北大方正集团还陷入了内斗当中,导致其内部管理混乱,进一步加剧了企业危机。

今年8月,上海清算所网站披露公告,北大方正集团等重整主体已基本完成清偿。目前,北大方正集团已是中国平安保险成员,由平安信托有限责任公司100%持股。