游戏百科
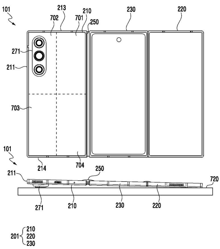
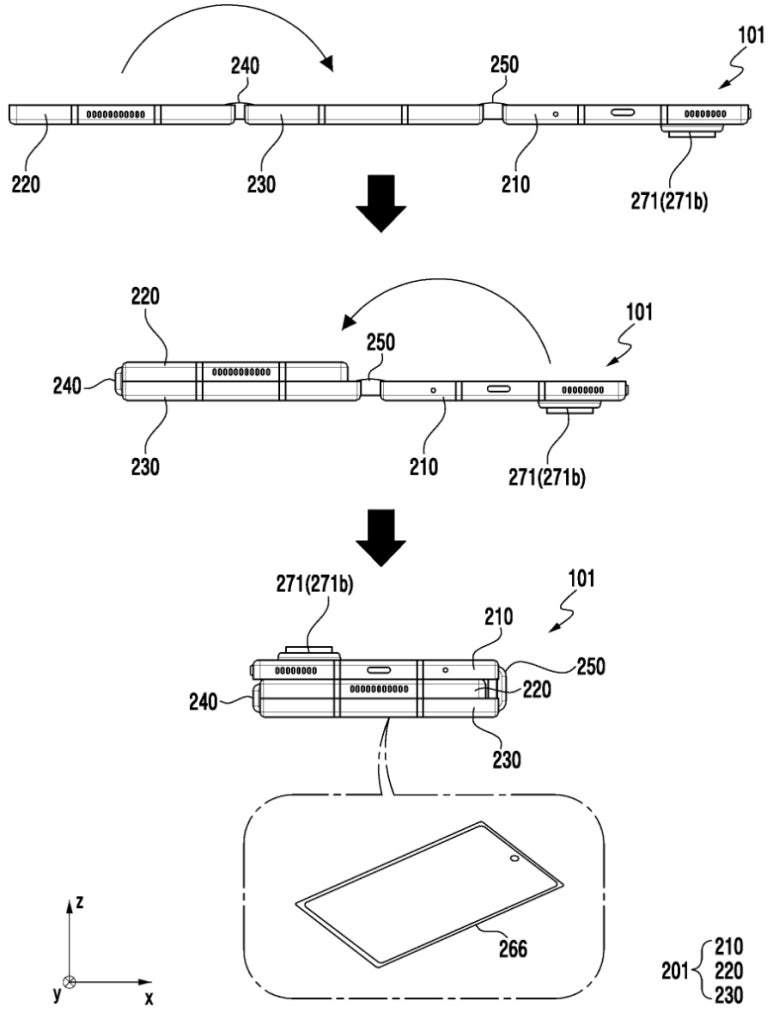
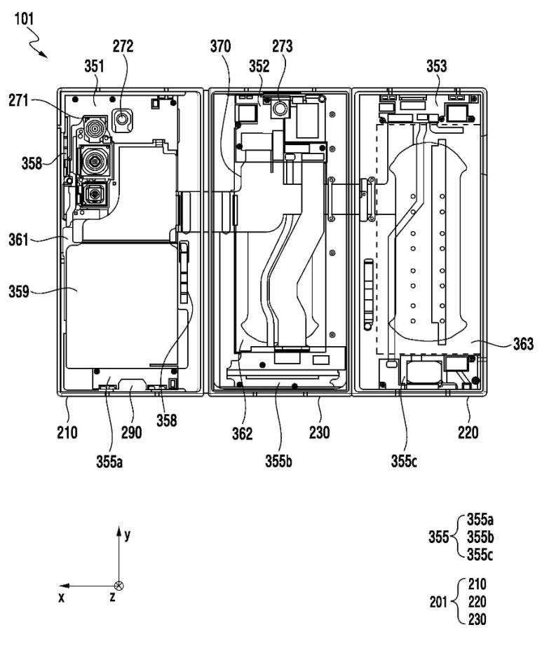
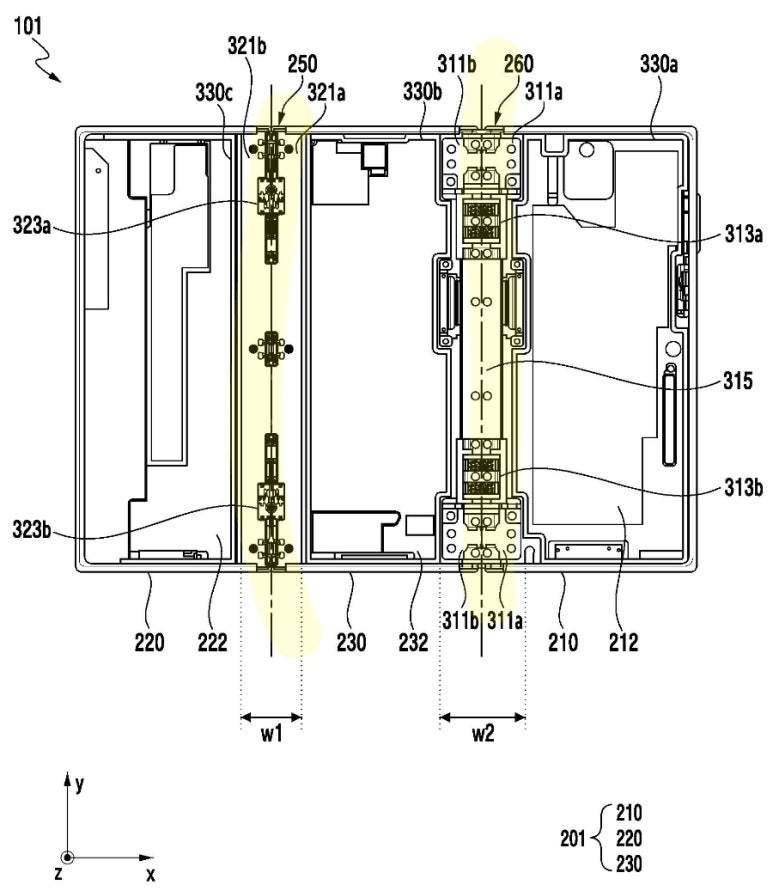
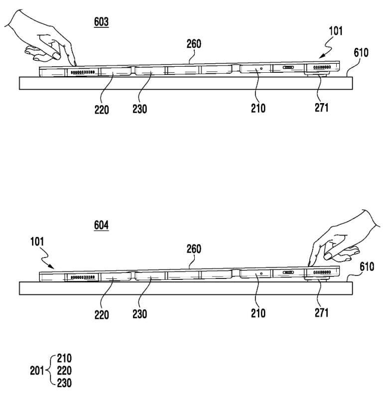
重磅,三星即将到发布的三折叠,内部结构图出来了
2025-10-10 10:02:09
耐冰宇宙
科技
重磅,三星即将到发布的三折叠,内部结构图出来了
猜你喜欢
这段时间我已经跟身边不少人推荐过三星S25Ultra了,上手都很喜欢,但大
2025-10-06
从彤评科技
标签:
三星
明年,折叠屏市场天要塌了,只能靠这两家撑起这片天。据博主厂长是关同学爆料,
2025-10-09
树苗态度啊
标签:
折叠屏
荣耀
华为
苹果
手机行业
GalaxyS26Ultra,颜值还是很高的。高通专门给三星做了8EGen
2025-09-28
飞荷看科技
标签:
高通
三星
手机行业
三星实力强不强?三星实力都不是强不强的问题,而是到底有多强,强到爆炸的问题!在
2025-09-28
乐乐头
标签:
三星
希望小学
这是全球销量最高的四个手机品牌。苹果手机销售2.67亿部,排名第一。三星2.59
2025-10-09
嘴哥看科技
标签:
三星
苹果
iPhone
手机行业
折叠屏三星做的还不错[doge]
2025-10-08
浅笑红尘浅
标签:
折叠屏
三星
手机行业
2025年全球手机销量TOP10新鲜出炉,三星一骑绝尘,上半年出货量达1.181
2025-10-04
嘴哥看科技
标签:
三星
手机行业
热门分类
推荐
热榜
军事
NBA
体育
社会
明星八卦
娱乐
财经
科技
汽车
历史
国际
游戏
动漫
公益
搞笑
商业
互联网
数码
国际足球
房产
家居
时尚
科学探索
职场
育儿
股票
教育
影视
情感
热点
中国军情
武器
中国南海
中国足球
亚洲杯
科比
综合体育
CBA
投资
楼市
大咖秀
外汇
创业
风口
SUV
豪车
概念车
优惠
新能源
美国
欧洲
朝日韩
俄罗斯
孕期
街拍
恋爱攻略
婚姻
正能量