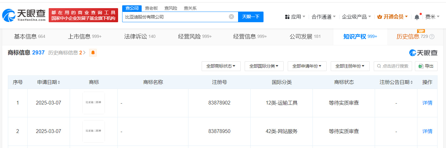
天眼查知识产权信息显示,近日,比亚迪(002594)申请注册“比亚迪二郎神”商标,国际分类为运输工具、网站服务,当前商标状态为等待实质审查。
据媒体报道,近日,比亚迪第二代元PLUS智驾版上市,全系标配天神之眼C - 高阶智驾三目版(DiPilot 100),后者搭载了“二郎神三目”前视摄像头。
天眼查知识产权信息显示,近日,比亚迪(002594)申请注册“比亚迪二郎神”商标,国际分类为运输工具、网站服务,当前商标状态为等待实质审查。
据媒体报道,近日,比亚迪第二代元PLUS智驾版上市,全系标配天神之眼C - 高阶智驾三目版(DiPilot 100),后者搭载了“二郎神三目”前视摄像头。