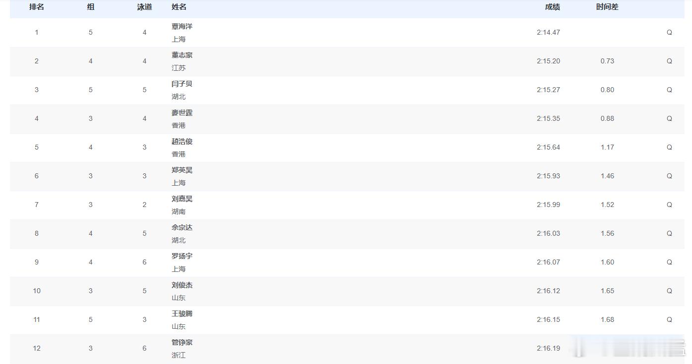
摆脱意外失利阴影王牌项目再冲三连冠 覃海洋全运200蛙预赛头名晋级11月14日上午,全运会游泳大项结束了男子200米蛙泳预赛,该项目世界纪录保持者、上海队选手覃海洋,以2分14秒47的成绩排名预赛第一。昨天的50米蛙泳决赛,覃海洋发挥失常加意外犯规没有成绩,失去了包揽蛙泳三冠的机会。今天各路蛙泳健儿马不停蹄转战200蛙。这个项目上覃海洋在2017年和2021年全运会上都拿到冠军,本届冲三连冠势在必行。虽然只是预赛,第五组出场的覃海洋,和湖北队老将闫子贝形成争夺细局,闫子贝一度超出覃海洋,但最终还是覃海洋以2分14秒47列小组第一,闫子贝2分15秒27列小组第二。该项目24年世锦赛冠军、江苏选手董志豪在第四组出场,他以2分15秒20的成绩拿到小组第一。预赛总排名覃海洋第一,董志豪第二,闫子贝第三。香港队两名选手麦世霆和赵浩俊引人瞩目的排名第五和第六高位。昨天50蛙意外夺冠的上海选手郑英昊排名预赛第七。该项目半决赛将在今晚20点03分和20点10分依次进行。


